显示
UCloud优刻得云计算介绍
UCloud优刻得全球云产品一折起促销
UCloud优刻得免备案洛杉矶VPS实测
UCloud优刻得香港洛杉矶VPS测评总结
UCloud优刻得云计算介绍
UCloud (优刻得科技股份有限公司)是中立、安全的云计算服务平台,坚持中立,不涉足客户业务领域。公司自主研发IaaS、PaaS、大数据流通平台、AI服务平台等一系列云计算产品,并深入了解互联网、传统企业在不同场景下的业务需求,提供公有云、混合云、私有云、专有云在内的综合性行业解决方案。
官方网站:www.ucloud.cn
UCloud优刻得全球云产品一折起促销
UCloud全球33个数据中心,29条专线,覆盖五大洲,助力企业出海。
中国地区:

亚太地区:

欧洲地区:

其他地区:

UCloud优刻得云计算全球云产品,全场1折起:
1C / 1G / 1Mbps / 40G SSD 150 元/年(约12.5元/月)450元/3年(约12.5元/月)
1C / 2G / 1Mbps / 40G SSD 250 元/年(约20.8元/月)700元/3年(约19.4元/月)
2C / 4G / 2Mbps / 40G SSD 500 元/年(约41.7元/月)1400元/3年(约38.9元/月)
更多价格和配置,等你来发现!>> 点击链接
UCloud优刻得免备案香港VPS实测
本次测试采用的云服务器配置为:2C / 4G / 20GB / 5Mbps
(2C / 4G / 5Mbps / 40G SSD 海外一折仅需800/年 >> 点击链接)
UCloud优刻得香港可用区位于NTT机房,符合Tier3级别标准,该机房网络为骨干网层。
先来看一下综合数据:
UCloud香港云服务器采用KVM虚拟化架构,从图中可以看出I/O读写速度十分平均,到全国各地速度良好。

本次在浙江测试了去程线路,回程线路暂未测试。电信去程走CN2线路,联通走169骨干网,移动走联通的线路。总体还是可以接受的。



UCloud优刻得免备案洛杉矶VPS实测
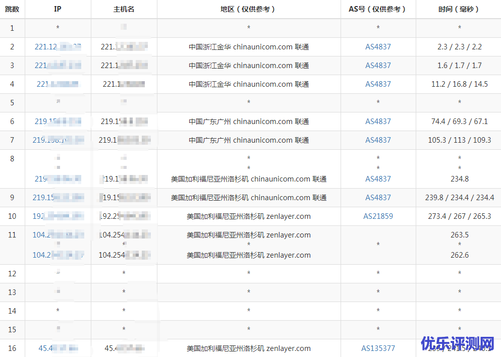
本次测试采用的云服务器配置为:1C / 1G / 40GB / 5Mbps
先来看总体,I/O依旧很平均。由于是晚高峰测试,联通线路延迟稍高,其他线路良好。

去程路由:电信去程163,联通去程直连169骨干网,移动直连CM骨干网。回程线路与去程相同。(可惜没有走CN2)



UCloud优刻得香港洛杉矶VPS测评总结
现在UCloud海外云产品一折起的活动正在火热进行中,UCloud海外VPS的线路(除香港VPS外)有些差强人意,不过这样的价格还是很香的。
点击链接 >> 进入官网购买













