JustHost前几天全新上架了洛杉矶(QLA2)新节点,采用 KVM 虚拟化 架构,搭载 AMD EPYC 7C13 64核处理器(单核主频最高 1999.999MHz),实测单线程 Geekbench 得分约 3484,性能表现属于中高端水平。内存为 965MB(可用约 771MB),硬盘为 20GB NVMe(可用 17GB),读写速度表现不错,顺序读取可达 49.9MB/s,写入 43.6MB/s。三网优化情况良好:电信、联通、移动三网均有优化线路接入。国际回程:Cogent、Arelion 等 Tier1 运营商线路为主,整体三网回国延迟控制在 140-280ms 区间,属于洛杉矶机房中的正常偏优水平。流媒体解锁支持美区原生 IP,Netflix、Disney+、YouTube、TikTok、ChatGPT 等主流平台解锁表现优秀,具体的测评细节请查看下文。
官方网站

活动1:洛杉矶 VPS 限时优惠 −40%(QLA2)
🔥 优惠码:40QLA2 ,仅限洛杉矶QLA2机房(本次促销截止5月1日)
| CPU | 内存 | NVMe | 带宽/流量 | 价格 | 购买 |
| 1核 | 1G | 20G | 300M/不限 | ¥27.23/月 | 直达 |
| 1核 | 2G | 30G | 300M/不限 | ¥38.84/月 | 直达 |
| 2核 | 2G | 40G | 400M/不限 | ¥50.46/月 | 直达 |
| 2核 | 4G | 80G | 500M/不限 | ¥75.43/月 | 直达 |
| 4核 | 4G | 120G | 750M/不限 | ¥102.71/月 | 直达 |
| 4核 | 8G | 200G | 750M/不限 | ¥156.77/月 | 直达 |
| 5核 | 8G | 300G | 750M/不限 | ¥185.81/月 | 直达 |
| 6核 | 12G | 400G | 750M/不限 | ¥255.49/月 | 直达 |
| 8核 | 16G | 500G | 750M/不限 | ¥342.59/月 | 直达 |
| 8核 | 24G | 600G | 750M/不限 | ¥458.72/月 | 直达 |
| 8核 | 32G | 700G | 750M/不限 | ¥691.99/月 | 直达 |
| 12核 | 32G | 1000G | 1000M/不限 | ¥923.25/月 | 直达 |
基本参数
CPU:EPYC 7003 Milan 系列(64核心 / 128线程),L3缓存 256 MB,看频率应该是资源分配导致的频率限制。
CPU Model : AMD EPYC 7C13 64-Core Processor CPU Cores : 1 @ 1999.999 MHz CPU Cache : 512 KB AES-NI : ✓ Enabled VM-x/AMD-V : ✓ Enabled Total Disk : 19.7 GB (1.3 GB Used) Total RAM : 964.5 MB (67.9 MB Used) System Uptime : 0 days, 1 hour 28 min Load Average : 0.00, 0.04, 0.00 OS : Debian GNU/Linux 11 (bullseye) Arch : x86_64 (64 Bit) Kernel : 5.10.0-32-amd64 TCP Congestion Ctrl: bbr Virtualization : KVM IPv4/IPv6 : ✓ Online / ✗ Offline Organization : AS26383 Baxet Group Inc. Location : Los Angeles / US Region : California ---------------------------------------------------------------------- I/O Speed(1st run) : 683 MB/s I/O Speed(2nd run) : 715 MB/s I/O Speed(3rd run) : 704 MB/s I/O Speed(average) : 700.7 MB/s ----------------------------------------------------------------------
IP测试
流媒体解锁:

IP质量报告:原生ip,解锁能力还不错

网络测试
三网测试:
Speedtest:
Node Name Upload Speed Download Speed Latency Speedtest.net 413.85 Mbps 398.10 Mbps 40.13 ms Los Angeles, US 364.36 Mbps 399.93 Mbps 3.47 ms Dallas, US 419.72 Mbps 401.07 Mbps 31.34 ms Montreal, CA 388.88 Mbps 402.51 Mbps 64.11 ms Paris, FR 359.82 Mbps 380.34 Mbps 137.71 ms Amsterdam, NL 314.75 Mbps 411.65 Mbps 150.41 ms Suzhou, CN 337.16 Mbps 409.34 Mbps 160.28 ms Ningbo, CN 17.63 Mbps 404.77 Mbps 150.44 ms Hong Kong, CN 3.06 Mbps 0.53 Mbps 168.76 ms Singapore, SG Test failed Taipei, CN 374.56 Mbps 414.63 Mbps 128.30 ms Tokyo, JP 369.46 Mbps 414.00 Mbps 113.53 ms ----------------------------------------------------------------------
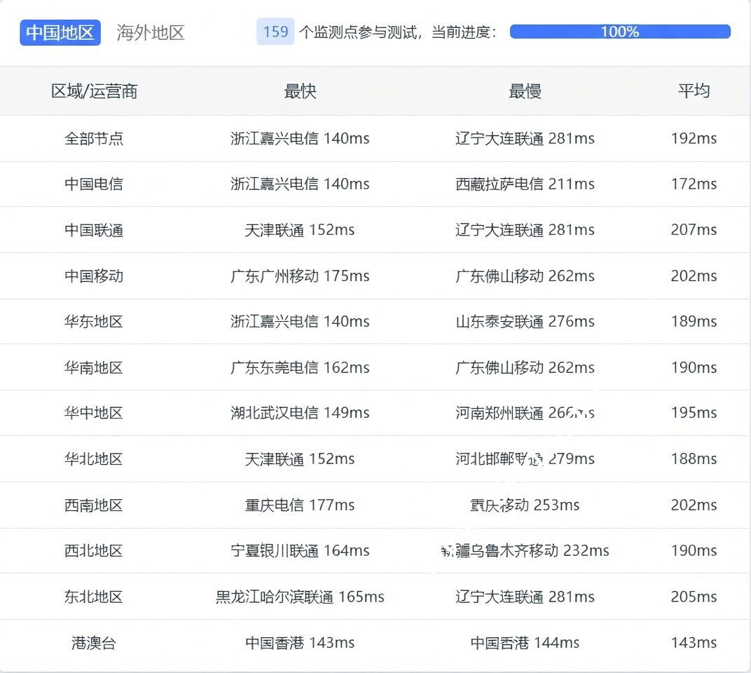
网络质量体检报告:

BGP 拓扑历史:

PING检测


路由
北京 电信 Arelion -> 163 地理路径:美国 -> 北京 自治系统路径:AS1299 -> AS4134 -> AS4847 2 0.61ms 10.9.*.* * RFC1918 3-7 0.40ms 62.115.*.* AS1299 [ARELION-NET] 美国 加利福尼亚 洛杉矶 arelion.com 8-9 158.24ms 202.97.*.* AS4134 [CHINANET-BB] 中国 北京 chinatelecom.com.cn 电信 11-13 160.09ms 219.141.*.* AS4847 [CHINATELECOM-BJ] 中国 北京 bj.189.cn 14 158.67ms 106.37.*.* AS4847 [CHINANET-HN] 中国 北京 bj.189.cn 上海 联通 Arelion -> 4837 地理路径:美国 -> 广东 -> 北京 -> 上海 自治系统路径:AS1299 -> AS4837 -> AS140979 2 0.43ms 10.9.*.* * RFC1918 3-5 0.42ms 62.115.*.* AS1299 [ARELION-NET] 美国 加利福尼亚 洛杉矶 arelion.com 6 17.26ms 80.239.*.* AS1299 美国 加利福尼亚 洛杉矶 arelion.com 7 188.77ms 219.158.*.* AS4837 [CU169-BACKBONE] 中国 广东省 广州市 chinaunicom.cn 8 191.53ms 219.158.*.* AS4837 [CU169-BACKBONE] 中国 北京 chinaunicom.cn 联通 17 192.67ms 58.246.*.* AS140979 中国 上海市 chinaunicom.cn 联通 广东 电信 Arelion -> 163 地理路径:美国 -> 广东 自治系统路径:AS1299 -> AS4134 2 0.51ms 10.9.*.* * RFC1918 3-6 0.86ms 62.115.*.* AS1299 [ARELION-NET] 美国 加利福尼亚 洛杉矶 arelion.com 7-8 14.24ms 218.30.*.* AS4134 [CHINANET-US] 美国 加利福尼亚 圣何塞 Cogent/Telia-CT-PoP chinatelecom.com.cn 电信 9-10 165.68ms 202.97.*.* AS4134 [CHINANET-BB] 中国 广东 广州 chinatelecom.com.cn 11 172.21ms 113.96.*.* AS4134 [CHINANET-GD] 中国 广东 广州 chinatelecom.com.cn 电信 13 165.48ms 14.18.*.* AS4134 中国 广东 广州 chinatelecom.com.cn 电信 17 178.07ms 183.47.*.* AS4134 [APNIC-AP] 中国 广东省 广州市 chinatelecom.com.cn 电
联通回程:
北京 联通 Arelion -> 4837 地理路径:美国 -> 法国 -> 德国 -> 广东 -> 北京 自治系统路径:AS1299 -> AS4837 -> AS4808 2 0.63ms 10.9.*.* * RFC1918 3-4 0.35ms 62.115.*.* AS1299 [ARELION-NET] 美国 加利福尼亚 洛杉矶 arelion.com 5 153.51ms 62.115.*.* AS1299 [ARELION-NET] 美国 德克萨斯 达拉斯 arelion.com 6 55.92ms 62.115.*.* AS1299 [ARELION-NET] 瑞典 斯德哥尔摩省 斯德哥尔摩 arelion.com 7 135.36ms 62.115.*.* AS1299 [ARELION-NET] 法国 法兰西岛大区 巴黎 arelion.com 8 57.64ms 62.115.*.* AS1299 [ARELION-NET] 美国 弗吉尼亚 阿什本 arelion.com 10-12 150.05ms 62.115.*.* AS1299 [ARELION-NET] 德国 黑森州 美因河畔法兰克福 arelion.com 13-15 235.41ms 219.158.*.* AS4837 [CU169-BACKBONE] 中国 广东 广州 chinaunicom.cn 联通 16-18 235.68ms 125.33.*.* AS4808 [UNICOM-BJ] 中国 北京 通州 www.bbn.com.cn 20 263.94ms 221.222.*.* AS4808 [UNICOM-BJ] 中国 北京 海淀 www.bbn.com.cn 上海 联通 Arelion -> 4837 地理路径:美国 -> 广东 -> 北京 -> 上海 自治系统路径:AS1299 -> AS4837 -> AS140979 2 0.43ms 10.9.*.* * RFC1918 3-5 0.42ms 62.115.*.* AS1299 [ARELION-NET] 美国 加利福尼亚 洛杉矶 arelion.com 6 17.26ms 80.239.*.* AS1299 美国 加利福尼亚 洛杉矶 arelion.com 7 188.77ms 219.158.*.* AS4837 [CU169-BACKBONE] 中国 广东省 广州市 chinaunicom.cn 8 191.53ms 219.158.*.* AS4837 [CU169-BACKBONE] 中国 北京 chinaunicom.cn 联通 17 192.67ms 58.246.*.* AS140979 中国 上海市 chinaunicom.cn 联通 广东 联通 Arelion -> 4837 地理路径:美国 -> 北京 -> 广东 自治系统路径:AS1299 -> AS4837 -> AS17816 -> AS136958 2 0.60ms 10.9.*.* * RFC1918 3-5 0.65ms 62.115.*.* AS1299 [ARELION-NET] 美国 加利福尼亚 洛杉矶 arelion.com 6-7 5.89ms 80.239.*.* AS1299 美国 加利福尼亚 洛杉矶 arelion.com 8-9 185.76ms 219.158.*.* AS4837 [CU169-BACKBONE] 中国 北京 chinaunicom.cn 11 176.56ms 219.158.*.* [CU169-BACKBONE] * 中国 联通 12 177.33ms 120.83.*.* AS17816 [APNIC-AP] 中国 广东 广州 中国联通 联通 17 194.44ms 157.148.*.* AS136958 [UNICOM-GD] 中国 广东省 广州市 chinaunicom.cn 联通
移动回程:
北京 移动 Arelion -> CMI 地理路径:美国 -> 北京 自治系统路径:AS1299 -> AS58453 -> AS9808 -> AS56048 2 10.59ms 10.9.*.* * RFC1918 3-6 0.41ms 62.115.*.* AS1299 [ARELION-NET] 美国 加利福尼亚 洛杉矶 arelion.com 7-8 0.95ms 223.120.*.* AS58453 [CMI-INT] 美国 加利福尼亚 洛杉矶 cmi.chinamobile.com 移动 9-10 175.44ms 221.183.*.* AS9808 [CMNET] 中国 北京 X-I chinamobileltd.com 移动 14-16 188.16ms 211.136.*.* AS56048 [CMNET] 中国 北京 bj.10086.cn 移动 18 178.92ms 211.136.*.* AS56048 [CMNET] 中国 北京 bj.10086.cn 移动 上海 移动 Zayo -> CMI 地理路径:美国 -> 上海 自治系统路径:AS46887 -> AS6461 -> AS58453 -> AS9808 2 0.45ms 10.9.*.* * RFC1918 3-5 0.69ms 160.72.*.* AS46887 美国 加利福尼亚州 洛杉矶 crowncastle.com 7 1.03ms 64.125.*.* AS6461 美国 加利福尼亚 洛杉矶 zayo.com 9 1.50ms 208.184.*.* AS6461 [ABOVENET-6] 美国 加利福尼亚 洛杉矶 zayo.com 10 1.30ms 223.120.*.* AS58453 [CMI-INT] 美国 加利福尼亚 洛杉矶 cmi.chinamobile.com 移动 12-16 186.75ms 221.183.*.* AS9808 [CMNET] 中国 上海 X-I chinamobileltd.com 移动 17 182.77ms 117.185.*.* AS9808 [CMNET] 中国 上海市 chinamobileltd.com 移动 广东 移动 Level3 -> CMI 地理路径:美国 -> 德国 -> 广东 自治系统路径:AS46887 -> AS3356 -> AS58453 -> AS9808 -> AS56040 2 0.53ms 10.9.*.* * RFC1918 3-5 0.82ms 160.72.*.* AS46887 美国 加利福尼亚州 洛杉矶 crowncastle.com 8 148.12ms 4.68.*.* AS3356 德国 黑森 美因河畔法兰克福 lumen.com 9 152.12ms 223.120.*.* AS58453 [CMI-INT] 德国 黑森 美茵河畔法兰克福 cmi.chinamobile.com 移动 10-13 260.11ms 221.183.*.* AS9808 [CMNET] 中国 广东 广州 X-I chinamobileltd.com 移动 14-16 262.99ms 183.235.*.* AS56040 [APNIC-AP] 中国 广东 广州 gd.10086.cn 移动 20 263.28ms 211.139.*.* AS56040 [CMNET] 中国 广东 广州 gd.10086.cn 移动
电信去程:

联通去程:

移动去程:

性能
硬件质量

综合评价: JustHost 洛杉矶 QLA2 机房 VPS 在硬件性能 + 三网优化 + 流媒体解锁三方面表现均衡,特别适合需要美国原生 IP、对流媒体解锁和回国网络质量有要求的用户,例如外贸独立站、跨境电商、TikTok 相关业务、ChatGPT 中转等场景。
优势:原生美区 IP、流媒体解锁能力强、三网延迟相对稳定、性能够用。 不足:硬盘空间仅 20GB,内存不到 1GB,属于轻量级配置,更适合中小流量项目,不适合高负载或大存储需求。
如果你正在寻找性价比不错的美西机房 VPS,JustHost 洛杉矶 QLA2 系列值得考虑。实际使用体验会因具体套餐配置和使用时段略有差异,建议购买后先进行实际压力测试。

















